Product added to basket
World Wide Shipping with UPS within 10 Working Days!
Catalog
Scrambler
All these accessories are ready to be shipped!
Ducati Oil
DesertX
Scrambler
Multistrada
Superbike
Monster
Diavel / XDiavel
Hypermotard
Streetfighter
Sport-classic
Semi Classic
Supersport
Sport-touring
Desmosedici
USA Models
2023
2025
2024
2023
2022
2021
2020
2019
2018
2017
2016
Accessories
Scrambler Nightshift 2G
Scrambler Icon 2G
Scrambler Full Throttle 2G
Scrambler Nightshift 2G
Scrambler 1100 Pro Dark
Scrambler 1100 Tribute Pro
Scrambler 1100 Sport Pro
14B TAILLIGHT (7/8)
13A WIRING HARNESS (COIL) (1/8)
13B VEHICLE ELECTRIC SYSTEM (2/8)
13C BATTERY HOLDER (3/8)
13D ELECTRICAL DEVICES (4/8)
13E ELECTRICAL DEVICES (5/8)
14A HEADLIGHT (6/8)
14B TAILLIGHT (7/8)
15A INSTRUMENT PANEL (8/8)
02A SHIFT CAM - FORK (1/17)
03A GEAR BOX (2/17)
03B CLUTCH (FCC) (3/17)
04A CLUTCH COVER (4/17)
04B GENERATOR COVER (5/17)
05A CONNECTING RODS (6/17)
06A CYLINDERS - PISTONS (7/17)
07A TIMING SYSTEM (8/17)
08A OIL PUMP (9/17)
09A HALF-CRANKCASES PAIR (10/17)
09B HALF-CRANKCASES PAIR (11/17)
10A ELECTRIC STARTING AND IGNITION (12/17)
11A VERTICAL CYLINDER HEAD - TIMING (13/17)
11B HORIZONTAL HEAD - TIMING SYSTEM (14/17)
11C VERTICAL HEAD (15/17)
11D HORIZONTAL HEAD (16/17)
11E INTAKE MANIFOLD (17/17)
16A STAND (1/32)
17A FRONT SPROCKET - CHAIN (2/32)
18A STEERING ASSEMBLY (3/32)
18B FRONT FORK (4/32)
19A REAR SWINGING ARM (5/32)
20A FRONT BRAKE PUMP (6/32)
20B FRONT BRAKE SYSTEM (7/32)
20C BRAKING SYSTEM ABS (8/32)
20D REAR BRAKE SYSTEM (9/32)
21A PLATE HOLDER (10/32)
22A HANDLEBAR (11/32)
22B CLUTCH CONTROL (12/32)
23A REAR SHOCK ABSORBER (13/32)
24A FRONT MUDGUARD (14/32)
26A FOOTRESTS, LEFT (15/32)
26B FOOTRESTS, RIGHT (16/32)
28A FRONT WHEEL (17/32)
29A REAR WHEEL (18/32)
30A TANK (19/32)
30A TANK (20/32)
30B FUEL PUMP (21/32)
31A EXHAUSRT PIPE ASSY (22/32)
31B EXHAUST SILENCER (23/32)
32A SEAT (24/32)
33A FRAME (25/32)
34A OIL COOLER (26/32)
35A AIR INTAKE - OIL BREATHER (27/32)
35B SECONDARY AIR SYSTEM (28/32)
36A THROTTLE BODY (29/32)
36B CANISTER FILTER (30/32)
37A FAIRING (31/32)
37B FAIRING (32/32)
01A DDS TESTER (1/3)
01B WORKSHOP SERVICE TOOLS, ENGINE (2/3)
01C WORKSHOP SERVICE TOOLS, FRAME (3/3)
Register here!
Log in to your account
0
0.00
Log in to your account
0
0.00
-
1
2
3
4
5
6
7
8
8
9
9
10
10
11
12
13
14
15
16
16
17
17
18
18
19
Products
* All prices are excl. VAT
Value in currencies other than in Euro (€) are only an indication.
American dollar ($)
Argentine Peso ($)
Australian Dollar ($)
British pounds (£)
Cambodia Riel (៛)
Canadian dollar ($)
Chilean Peso ($)
China Yuan Renminbi (¥)
Colombia Peso ($)
Croatian Kuna (kn)
Czech Koruna (Kč)
Danish Krone (kr)
Euro (€)
Gibraltar Pound (£)
Hong Kong Dollar ($)
Hungarian Forint (Ft)
India Rupee (₹)
Indonesian Rupiah (Rp)
Japanese Yen (¥)
Kuwaiti Dinar (kwd)
Malaysian Ringgit (RM)
Mexican Peso ($)
New Israeli Sheqel (₪)
New Taiwan Dollar (NT$)
New Zealand Dollar ($)
North Korean Won (₩)
Norwegian Krone (kr)
Paraguayan Guarani (Gs)
Peruvian Sol (S/.)
Philippine Peso (₱)
Polish Zloty (zł)
Russian Ruble (₽)
Singapore Dollar ($)
South African Rand (R)
South Korean Won (₩)
Swedish Krona (kr )
Swiss Franc (CHF)
Thai Baht (฿)
Turkisch Lira (₺)
Uruguayan Peso ($U)
No.
Code
Name
Pos
Price
No.
Code
Name
pos
Price
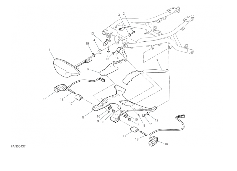
1
52510761C
TAILLIGHT
1
€
162.84
2
77440041A
SCREW, TAPPING M5X16
2
€
0.93
3
85241711A
WASHER 5.3X20X1.5
3
€
0.93
4
76410901A
RUBBER PAD
4
€
0.93
5
8291R181A
LOWER HOLDER
5
€
36.77
6
8291R171A
BRACKET UPPER LEFT
6
€
10.51
7
8291R341A
BRACKET UPPER RIGHT
7
€
10.51
8
77211221B
SCREW, SPECIAL
8
€
1.96
9
77440101A
SCREW, TAPPING 3.5X10
9
€
0.93
10
85040381A
QUICK FASTENING
10
€
2.99
11
77210893B
SCREW
11
€
4.02
12
71614891AA
SPACER
12
€
1.96
13
8301N441AA
LEFT BRACKET
13
€
5.05
14
8301N431AA
RIGHT BRACKET
14
€
5.05
15
77240403CA
SCREW M6X12
15
€
1.96
16
53010521A
TURN INDICATOR
16
€
75.28
17
7131E371A
SPACER
17
€
6.95
18
77150743B
SCREW
18
€
1.96
19
85210541B
WASHER 10.2X20X1
19
€
1.96
Add to basket
52510761C
TAILLIGHT
€ 162.84
Add to basket
77440041A
€ 0.93
Add to basket
85241711A
€ 0.93
Add to basket
76410901A
€ 0.93
Add to basket
8291R181A
LOWER HOLDER
€ 36.77
Add to basket
8291R171A
BRACKET UPPER LEFT
€ 10.51
Add to basket
8291R341A
BRACKET UPPER RIGHT
€ 10.51
Add to basket
77211221B
SCREW, SPECIAL
€ 1.96
Add to basket
77440101A
SCREW, TAPPING 3.5X10
€ 0.93
Add to basket
85040381A
QUICK FASTENING
€ 2.99
Add to basket
77210893B
SCREW
€ 4.02
Add to basket
71614891AA
SPACER
€ 1.96
Add to basket
8301N441AA
LEFT BRACKET
€ 5.05
Add to basket
8301N431AA
RIGHT BRACKET
€ 5.05
Add to basket
77240403CA
SCREW M6X12
€ 1.96
Add to basket
53010521A
TURN INDICATOR
€ 75.28
Add to basket
7131E371A
SPACER
€ 6.95
Add to basket
77150743B
SCREW
€ 1.96
Add to basket
85210541B
WASHER 10.2X20X1
€ 1.96
Add to claim
52510761C
TAILLIGHT
€162.84
Add to claim
77440041A
€0.93
Add to claim
85241711A
€0.93
Add to claim
76410901A
€0.93
Add to claim
8291R181A
LOWER HOLDER
€36.77
Add to claim
8291R171A
BRACKET UPPER LEFT
€10.51
Add to claim
8291R341A
BRACKET UPPER RIGHT
€10.51
Add to claim
77211221B
SCREW, SPECIAL
€1.96
Add to claim
77440101A
SCREW, TAPPING 3.5X10
€0.93
Add to claim
85040381A
QUICK FASTENING
€2.99
Add to claim
77210893B
SCREW
€4.02
Add to claim
71614891AA
SPACER
€1.96
Add to claim
8301N441AA
LEFT BRACKET
€5.05
Add to claim
8301N431AA
RIGHT BRACKET
€5.05
Add to claim
77240403CA
SCREW M6X12
€1.96
Add to claim
53010521A
TURN INDICATOR
€75.28
Add to claim
7131E371A
SPACER
€6.95
Add to claim
77150743B
SCREW
€1.96
Add to claim
85210541B
WASHER 10.2X20X1
€1.96