Product added to basket
World Wide Shipping with UPS within 10 Working Days!
Catalog
Streetfighter
All these accessories are ready to be shipped!
Ducati Oil
DesertX
Scrambler
Multistrada
Superbike
Monster
Diavel / XDiavel
Hypermotard
Streetfighter
Sport-classic
Semi Classic
Supersport
Sport-touring
Desmosedici
USA Models
2024
2024
2023
2022
2021
2020
2015
2014
2013
2012
2011
2010
2009
Streetfighter V2
Streetfighter V2
Streetfighter V4S
PLATE HOLDER
IMPIANTO ELETTRICO SINISTRO
BATTERY HOLDER
IMPIANTO ELETTRICO DESTRO
VEHICLE ELECTRIC SYSTEM
ELECTRICAL DEVICES
ELECTRICAL DEVICES
HEADLIGHT
TAILLIGHT
INSTRUMENT PANEL
SHIFT CAM - FORK
GEAR BOX
CLUTCH
CLUTCH COVER
GENERATOR COVER
OIL PAN
CONNECTING RODS
CYLINDERS - PISTONS
TIMING SYSTEM
OIL PUMP - FILTER
HEAT EXCHANGER
HALF-CRANKCASES PAIR
HALF-CRANKCASES PAIR
WATER PUMP
ELECTRIC STARTING AND IGNITION
VERTICAL CYLINDER HEAD - TIMING (
HORIZONTAL HEAD - TIMING SYSTEM
VERTICAL HEAD
HORIZONTAL HEAD
SIDE STAND
FRONT SPROCKET - CHAIN
STEERING ASSEMBLY
STEERING ASSEMBLY
FRONT FORK
REAR SWINGING ARM
FRONT BRAKE PUMP
FRONT BRAKE SYSTEM
BRAKING SYSTEM ABS
REAR BRAKE SYSTEM
PLATE HOLDER
PLATE HOLDER
CLUTCH CONTROL
HANDLEBAR AND CONTROLS
REAR SHOCK ABSORBER
FRONT MUDGUARD
WATER COOLER
COOLING CIRCUIT
TANK, WATER RESERVOIR
FOOTRESTS, LEFT
FOOTRESTS, RIGHT
REAR FOOTREST
REAR MUDGUARD
FRONT WHEEL
REAR WHEEL
REAR WHEEL SPINDLE
TANK
SILENCER
EXHAUST MANIFOLD
SEAT
FRAME
REAR FRAME COMP.
LOCKER
AIR INTAKE - OIL BREATHER
FILTER, AIR
THROTTLE BODY
CANISTER FILTER
FAIRING, RH
FAIRING, LH
REAR FAIRING
FRONT FAIRING
POSITIONING PLATES
DDS TESTER
WORKSHOP SERVICE TOOLS (ENGINE)
WORKSHOP SERVICE TOOLS (ENGINE)
WORKSHOP SERVICE TOOLS (FRAME)
Register here!
Log in to your account
0
0.00
Log in to your account
0
0.00
-
1
1
2
3
4
5
6
7
8
9
10
11
12
13
14
15
Products
* All prices are excl. VAT
Value in currencies other than in Euro (€) are only an indication.
American dollar ($)
Argentine Peso ($)
Australian Dollar ($)
British pounds (£)
Cambodia Riel (៛)
Canadian dollar ($)
Chilean Peso ($)
China Yuan Renminbi (¥)
Colombia Peso ($)
Croatian Kuna (kn)
Czech Koruna (Kč)
Danish Krone (kr)
Euro (€)
Gibraltar Pound (£)
Hong Kong Dollar ($)
Hungarian Forint (Ft)
India Rupee (₹)
Indonesian Rupiah (Rp)
Japanese Yen (¥)
Kuwaiti Dinar (kwd)
Malaysian Ringgit (RM)
Mexican Peso ($)
New Israeli Sheqel (₪)
New Taiwan Dollar (NT$)
New Zealand Dollar ($)
North Korean Won (₩)
Norwegian Krone (kr)
Paraguayan Guarani (Gs)
Peruvian Sol (S/.)
Philippine Peso (₱)
Polish Zloty (zł)
Russian Ruble (₽)
Singapore Dollar ($)
South African Rand (R)
South Korean Won (₩)
Swedish Krona (kr )
Swiss Franc (CHF)
Thai Baht (฿)
Turkisch Lira (₺)
Uruguayan Peso ($U)
No.
Code
Name
Pos
Price
No.
Code
Name
pos
Price
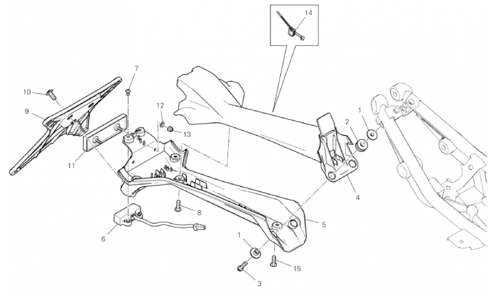
1
71615691AA
SPACER
1
€
1.96
2
76412501A
RUBBER PAD
2
€
0.93
3
77156443B
SCREW
3
€
0.93
4
56113671A
NUMBER PLATE HOLDER UPPER
4
€
51.12
5
56113681A
NUMBER PLATE HOLDER BOTTOM
5
€
40.16
6
52510611A
LAMP, LICENSE PLATE
6
€
33.22
7
77550171A
SCREW TBEI M4X8
7
€
0.93
8
77440203C
SCREW
8
€
0.93
9
56113392A
PLATE HOLDER
9
€
12.54
10
77240418C
SCREW
10
€
0.93
11
52910231A
REFLEX REFLECTOR, REAR
11
€
4.02
12
85212511A
WASHER 4.5X9X0.5
12
€
0.93
13
74950011B
NUT, SPRING
13
€
0.93
14
75840801A
CLAMP
14
€
2.99
15
72050173CA
SCREW
15
€
1.96
Add to basket
71615691AA
SPACER
€ 1.96
Add to basket
76412501A
RUBBER PAD
€ 0.93
Add to basket
77156443B
SCREW
€ 0.93
Add to basket
56113671A
NUMBER PLATE HOLDER UPPER
€ 51.12
Add to basket
56113681A
NUMBER PLATE HOLDER BOTTOM
€ 40.16
Add to basket
52510611A
LAMP, LICENSE PLATE
€ 33.22
Add to basket
77550171A
SCREW TBEI M4X8
€ 0.93
Add to basket
77440203C
SCREW
€ 0.93
Add to basket
56113392A
PLATE HOLDER
€ 12.54
Add to basket
77240418C
SCREW
€ 0.93
Add to basket
52910231A
REFLEX REFLECTOR, REAR
€ 4.02
Add to basket
85212511A
WASHER 4.5X9X0.5
€ 0.93
Add to basket
74950011B
NUT, SPRING
€ 0.93
Add to basket
75840801A
CLAMP
€ 2.99
Add to basket
72050173CA
SCREW
€ 1.96
Add to claim
71615691AA
SPACER
€1.96
Add to claim
76412501A
RUBBER PAD
€0.93
Add to claim
77156443B
SCREW
€0.93
Add to claim
56113671A
NUMBER PLATE HOLDER UPPER
€51.12
Add to claim
56113681A
NUMBER PLATE HOLDER BOTTOM
€40.16
Add to claim
52510611A
LAMP, LICENSE PLATE
€33.22
Add to claim
77550171A
SCREW TBEI M4X8
€0.93
Add to claim
77440203C
SCREW
€0.93
Add to claim
56113392A
PLATE HOLDER
€12.54
Add to claim
77240418C
SCREW
€0.93
Add to claim
52910231A
REFLEX REFLECTOR, REAR
€4.02
Add to claim
85212511A
WASHER 4.5X9X0.5
€0.93
Add to claim
74950011B
NUT, SPRING
€0.93
Add to claim
75840801A
CLAMP
€2.99
Add to claim
72050173CA
SCREW
€1.96