Producto añadido a la cesta
World Wide Shipping with UPS within 10 Working Days!
Catálogo
Streetfighter
All these accessories are ready to be shipped!
Ducati Oil
DesertX
Scrambler
Multistrada
Superbike
Monster
Diavel / XDiavel
Hypermotard
Streetfighter
Sport-classic
Semi Classic
Supersport
Sport-touring
Desmosedici
USA Models
2021
2024
2023
2022
2021
2020
2015
2014
2013
2012
2011
2010
2009
Streetfighter V4
Streetfighter V4
Streetfighter V4 S
HANDLEBAR
ENGINE ELECTRIC SYSTEM
SECONDARY AIR SYSTEM
VEHICLE ELECTRIC SYSTEM
BATTERY HOLDER
ELECTRICAL DEVICES
ELECTRICAL DEVICES
HEADLIGHT
TAILLIGHT
INSTRUMENT PANEL
SHIFT CAM - FORK
GEAR BOX
CLUTCH
CLUTCH COVER
GENERATOR COVER
OIL PAN
CONNECTING RODS
CYLINDERS - PISTONS
TIMING SYSTEM
OIL PUMP
HALF-CRANKCASES PAIR
HALF-CRANKCASES PAIR
WATER PUMP
ELECTRIC STARTING AND IGNITION
FRONT HEAD - TIMING SYSTEM
REAR HEAD - TIMING SYSTEM
FRONT HEAD
REAR HEAD
SIDE STAND
FRONT SPROCKET - CHAIN
STEERING ASSEMBLY
STEERING ASSEMBLY
FRONT FORK
REAR SWINGING ARM
REAR SWINGING ARM
FRONT BRAKE PUMP
FRONT BRAKE SYSTEM
BRAKING SYSTEM ABS
REAR BRAKE SYSTEM
PLATE HOLDER
PLATE HOLDER
HANDLEBAR
CLUTCH CONTROL
REAR SHOCK ABSORBER
FRONT MUDGUARD
WATER COOLER
COOLING CIRCUIT
FOOTRESTS, LEFT
FOOTRESTS, RIGHT
REAR FOOTREST
REAR MUDGUARD
FRONT WHEEL
REAR WHEEL
REAR WHEEL SPINDLE
TANK
EXHAUST SYSTEM
EXHAUST SYSTEM
SEAT
PILLION RIDER SEAT
FRAME
REAR FRAME COMP.
33C LOCKER (34/42)
OIL COOLER
AIR INTAKE - OIL BREATHER
THROTTLE BODY
CANISTER FILTER
FRONT FAIRING
RH FAIRING
LH FAIRING
POSITIONING PLATES
DDS (2) TESTER
WORKSHOP SERVICE TOOLS (ENGINE)
WORKSHOP SERVICE TOOLS (ENGINE)
WORKSHOP SERVICE TOOLS (FRAME)
Register here!
Log in to your account
0
0.00
Log in to your account
0
0.00
-
1
2
2
3
3
4
4
5
5
6
6
6
7
8
9
10
11
12
13
13
14
15
16
16
Productos
* All prices are excl. VAT
Value in currencies other than in Euro (€) are only an indication.
American dollar ($)
Argentine Peso ($)
Australian Dollar ($)
British pounds (£)
Cambodia Riel (៛)
Canadian dollar ($)
Chilean Peso ($)
China Yuan Renminbi (¥)
Colombia Peso ($)
Croatian Kuna (kn)
Czech Koruna (Kč)
Danish Krone (kr)
Euro (€)
Gibraltar Pound (£)
Hong Kong Dollar ($)
Hungarian Forint (Ft)
India Rupee (₹)
Indonesian Rupiah (Rp)
Japanese Yen (¥)
Kuwaiti Dinar (kwd)
Malaysian Ringgit (RM)
Mexican Peso ($)
New Israeli Sheqel (₪)
New Taiwan Dollar (NT$)
New Zealand Dollar ($)
North Korean Won (₩)
Norwegian Krone (kr)
Paraguayan Guarani (Gs)
Peruvian Sol (S/.)
Philippine Peso (₱)
Polish Zloty (zł)
Russian Ruble (₽)
Singapore Dollar ($)
South African Rand (R)
South Korean Won (₩)
Swedish Krona (kr )
Swiss Franc (CHF)
Thai Baht (฿)
Turkisch Lira (₺)
Uruguayan Peso ($U)
No.
Código
Nombre
Precio
No.
Código
Nombre
Precio
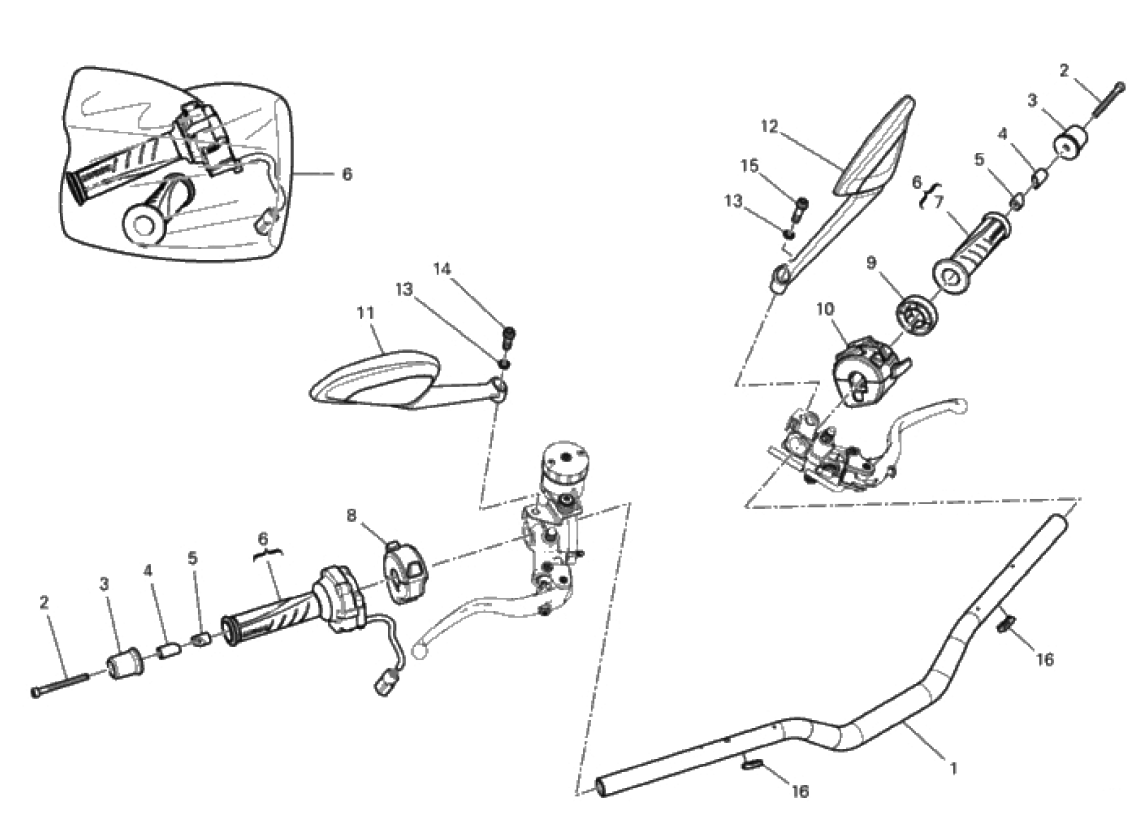
1
36015883BA
HANDLEBAR
€
99.93
2
77150788B
SCREW M6X65
€
0.93
3
15310131A
BALANCER HANDLE BAR.
€
14.61
4
71011071A
BUSH
€
11.55
5
71111301A
SPINDLE, TAPER
€
9.48
6
66020102B
THROTTLE CONTROL (Unit)
€
202.83
7
36140161A
HAND GRIP LH
€
20.60
8
65010362A
RIGHT SWITCH
€
104.25
9
71316161A
SPACER
€
4.02
10
65110301C
LEFT SWITCH
€
261.69
11
52310541A
REAR-VIEW MIRROR R.H.
€
69.32
12
52310551A
REAR-VIEW MIRROR L.H.
€
69.32
13
46210021A
SPRING WASHER 8 MM
€
0.93
14
77113731A
SCREW TCEIF M8X25, LEFT THREAD
€
2.99
15
77113741A
SCREW TCEIF M8X25
€
2.99
16
83040071A
CLIP
€
1.96
Añadir a la cesta
36015883BA
HANDLEBAR
€ 99.93
Añadir a la cesta
77150788B
SCREW TCEI M6X65
€ 0.93
Añadir a la cesta
15310131A
BALANCER SET, HANDLE BAR
€ 14.61
Añadir a la cesta
71011071A
BUSH
€ 11.55
Añadir a la cesta
71111301A
SPINDLE, TAPER
€ 9.48
Añadir a la cesta
66020102B
THROTTLE CONTROL (Unit)
€ 202.83
Añadir a la cesta
36140161A
HAND GRIP LH
€ 20.60
Añadir a la cesta
65010362A
RIGHT SWITCH
€ 104.25
Añadir a la cesta
71316161A
SPACER
€ 4.02
Añadir a la cesta
65110301C
LEFT SWITCH
€ 261.69
Añadir a la cesta
52310541A
REAR-VIEW MIRROR R.H.
€ 69.32
Añadir a la cesta
52310551A
REAR-VIEW MIRROR L.H.
€ 69.32
Añadir a la cesta
46210021A
SPRING WASHER 8 MM
€ 0.93
Añadir a la cesta
77113731A
SCREW
€ 2.99
Añadir a la cesta
77113741A
SCREW
€ 2.99
Añadir a la cesta
83040071A
CLIP
€ 1.96
Add to claim
36015883BA
HANDLEBAR
€99.93
Add to claim
77150788B
SCREW TCEI M6X65
€0.93
Add to claim
15310131A
BALANCER SET, HANDLE BAR
€14.61
Add to claim
71011071A
BUSH
€11.55
Add to claim
71111301A
SPINDLE, TAPER
€9.48
Add to claim
66020102B
THROTTLE CONTROL (Unit)
€202.83
Add to claim
36140161A
HAND GRIP LH
€20.60
Add to claim
65010362A
RIGHT SWITCH
€104.25
Add to claim
71316161A
SPACER
€4.02
Add to claim
65110301C
LEFT SWITCH
€261.69
Add to claim
52310541A
REAR-VIEW MIRROR R.H.
€69.32
Add to claim
52310551A
REAR-VIEW MIRROR L.H.
€69.32
Add to claim
46210021A
SPRING WASHER 8 MM
€0.93
Add to claim
77113731A
SCREW
€2.99
Add to claim
77113741A
SCREW
€2.99
Add to claim
83040071A
CLIP
€1.96