Producto añadido a la cesta
World Wide Shipping with UPS within 10 Working Days!
Catálogo
Scrambler
All these accessories are ready to be shipped!
Ducati Oil
DesertX
Scrambler
Multistrada
Superbike
Monster
Diavel / XDiavel
Hypermotard
Streetfighter
Sport-classic
Semi Classic
Supersport
Sport-touring
Desmosedici
USA Models
2023
2025
2024
2023
2022
2021
2020
2019
2018
2017
2016
Accessories
Scrambler Nightshift 2G
Scrambler Icon 2G
Scrambler Full Throttle 2G
Scrambler Nightshift 2G
Scrambler 1100 Pro Dark
Scrambler 1100 Tribute Pro
Scrambler 1100 Sport Pro
Register here!
Log in to your account
0
0.00
Log in to your account
0
0.00
-
13A WIRING HARNESS (COIL) (1/8)
13B VEHICLE ELECTRIC SYSTEM (2/8)
13C BATTERY HOLDER (3/8)
13D ELECTRICAL DEVICES (4/8)
13E ELECTRICAL DEVICES (5/8)
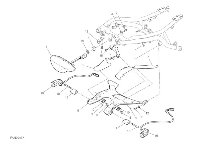
14A HEADLIGHT (6/8)
14B TAILLIGHT (7/8)
15A INSTRUMENT PANEL (8/8)
02A SHIFT CAM - FORK (1/17)
03A GEAR BOX (2/17)
03B CLUTCH (FCC) (3/17)
04A CLUTCH COVER (4/17)
04B GENERATOR COVER (5/17)
05A CONNECTING RODS (6/17)
06A CYLINDERS - PISTONS (7/17)
07A TIMING SYSTEM (8/17)
08A OIL PUMP (9/17)
09A HALF-CRANKCASES PAIR (10/17)
09B HALF-CRANKCASES PAIR (11/17)
10A ELECTRIC STARTING AND IGNITION (12/17)
11A VERTICAL CYLINDER HEAD - TIMING (13/17)
11B HORIZONTAL HEAD - TIMING SYSTEM (14/17)
11C VERTICAL HEAD (15/17)
11D HORIZONTAL HEAD (16/17)
11E INTAKE MANIFOLD (17/17)
16A STAND (1/32)
17A FRONT SPROCKET - CHAIN (2/32)
18A STEERING ASSEMBLY (3/32)
18B FRONT FORK (4/32)
19A REAR SWINGING ARM (5/32)
20A FRONT BRAKE PUMP (6/32)
20B FRONT BRAKE SYSTEM (7/32)
20C BRAKING SYSTEM ABS (8/32)
20D REAR BRAKE SYSTEM (9/32)
21A PLATE HOLDER (10/32)
22A HANDLEBAR (11/32)
22B CLUTCH CONTROL (12/32)
23A REAR SHOCK ABSORBER (13/32)
24A FRONT MUDGUARD (14/32)
26A FOOTRESTS, LEFT (15/32)
26B FOOTRESTS, RIGHT (16/32)
28A FRONT WHEEL (17/32)
29A REAR WHEEL (18/32)
30A TANK (19/32)
30A TANK (20/32)
30B FUEL PUMP (21/32)
31A EXHAUSRT PIPE ASSY (22/32)
31B EXHAUST SILENCER (23/32)
32A SEAT (24/32)
33A FRAME (25/32)
34A OIL COOLER (26/32)
35A AIR INTAKE - OIL BREATHER (27/32)
35B SECONDARY AIR SYSTEM (28/32)
36A THROTTLE BODY (29/32)
36B CANISTER FILTER (30/32)
37A FAIRING (31/32)
37B FAIRING (32/32)
01A DDS TESTER (1/3)
01B WORKSHOP SERVICE TOOLS, ENGINE (2/3)
01C WORKSHOP SERVICE TOOLS, FRAME (3/3)