Producto añadido a la cesta
World Wide Shipping with UPS within 10 Working Days!
Catálogo
Multistrada
All these accessories are ready to be shipped!
Ducati Oil
DesertX
Scrambler
Multistrada
Superbike
Monster
Diavel / XDiavel
Hypermotard
Streetfighter
Sport-classic
Semi Classic
Supersport
Sport-touring
Desmosedici
USA Models
2019
2025
2024
2023
2022
2021
2020
2019
2018
2017
2016
2015
2014
2013
2012
2011
2010
2009
2008
2007
2006
2005
2004
2003
Multistrada 1200 Enduro PRO
Multistrada 950
Multistrada 950 S
Multistrada 950 S SW
Multistrada 1260 ABS
Multistrada 1260 Touring
Multistrada 1260 S
Multistrada 1260 S Touring
Multistrada 1260 Pikes Peak
Multistrada 1200 Enduro PRO
Multistrada 1260 Enduro
SEAT
BATTERY HOLDER
HEADLIGHT
WIRING HARNESS
PLATE HOLDER
GEAR CHANGE MECHANISM
GEAR BOX
CLUTCH
CLUTCH COVER
CONNECTING RODS
CYLINDERS - PISTONS
DISTRIBUZIONE
OIL PUMP - FILTER
HALF-CRANKCASES PAIR
GENERATOR COVER
ELECTRIC STARTING AND IGNITION
VERTICAL CYLINDER HEAD
HORIZONTAL CYLINDER HEAD
OIL COOLER
THROTTLE BODY
HALF-CRANKCASES PAIR
VERTICAL CYLINDER HEAD - TIMING
TESTA ORIZZONTALE - DISTRIBUZIONE
EXHAUST SYSTEM
HANDLEBAR
FRAME
CLUTCH MASTER CYLINDER
FRONT BRAKE SYSTEM
REAR BRAKING SYSTEM
WHEELS
REAR FRAME COMP.
REAR SHOCK ABSORBER
INTAKE
WATER COOLER
COOLING CIRCUIT
FUEL TANK
SEAT
COWLING
CANISTER FILTER
ACCESSORIES
FRONT FORK
SIDE STAND
BRAKING SYSTEM ABS
FOOTRESTS, LEFT
FOOTRESTS, RIGHT
SWING ARM
FAIRING
FAIRING
WINDSHIELD
WORKSHOP SERVICE TOOLS
WORKSHOP SERVICE TOOLS
WORKSHOP SERVICE TOOLS
DDS (2) TESTER
Register here!
Log in to your account
0
0.00
Log in to your account
0
0.00
-
1
2
2
3
4
5
6
7
8
9
9
10
11
12
12
13
14
15
16
17
17
18
19
20
21
22
22
22
22
22
22
22
23
23
24
24
25
Productos
* All prices are excl. VAT
Value in currencies other than in Euro (€) are only an indication.
American dollar ($)
Argentine Peso ($)
Australian Dollar ($)
British pounds (£)
Cambodia Riel (៛)
Canadian dollar ($)
Chilean Peso ($)
China Yuan Renminbi (¥)
Colombia Peso ($)
Croatian Kuna (kn)
Czech Koruna (Kč)
Danish Krone (kr)
Euro (€)
Gibraltar Pound (£)
Hong Kong Dollar ($)
Hungarian Forint (Ft)
India Rupee (₹)
Indonesian Rupiah (Rp)
Japanese Yen (¥)
Kuwaiti Dinar (kwd)
Malaysian Ringgit (RM)
Mexican Peso ($)
New Israeli Sheqel (₪)
New Taiwan Dollar (NT$)
New Zealand Dollar ($)
North Korean Won (₩)
Norwegian Krone (kr)
Paraguayan Guarani (Gs)
Peruvian Sol (S/.)
Philippine Peso (₱)
Polish Zloty (zł)
Russian Ruble (₽)
Singapore Dollar ($)
South African Rand (R)
South Korean Won (₩)
Swedish Krona (kr )
Swiss Franc (CHF)
Thai Baht (฿)
Turkisch Lira (₺)
Uruguayan Peso ($U)
No.
Código
Nombre
Precio
No.
Código
Nombre
Precio
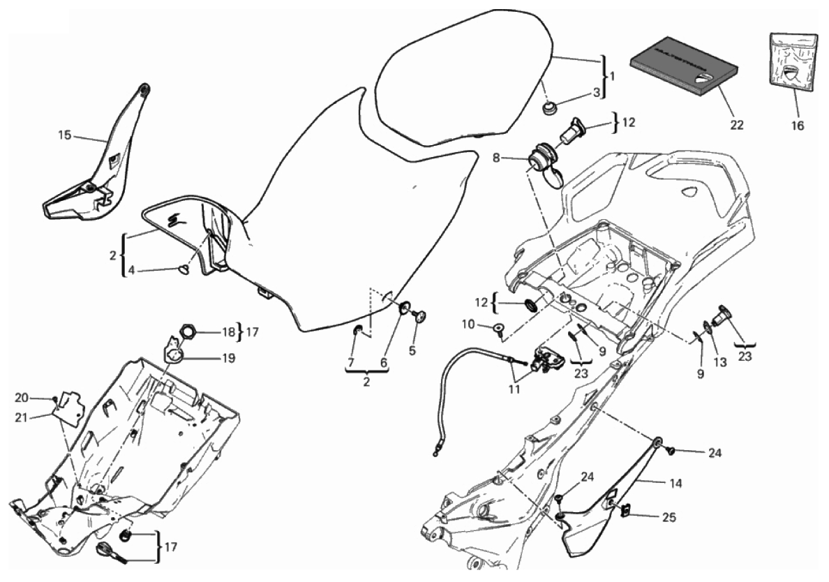
1
595P3022AE
PILLION RIDER SEAT
€
185.54
2
595P2991BC
SEAT
€
225.66
3
86610611A
RUBBER PAD
€
1.96
4
86612111A
CUSHION, SEAT
€
1.96
5
77919851BA
SCREW, SPECIAL
€
4.02
6
71615241BA
SPACER
€
7.07
7
88450361A
CIRCLIP
€
0.93
8
76412261A
HOLDER
€
4.02
9
85213761A
WASHER
€
0.93
10
77914982B
SCREW, SPECIAL
€
2.99
11
59810241A
LOCK LATCH
€
26.03
12
38640591A
SOCKET, LOW VOLTAGE (USB)
€
35.00
13
71319331A
SPACER
€
2.99
14
48212182A
COVER , FRAME LH
€
19.26
15
48212172A
COVER , FRAME RH
€
19.26
16
69720342B
TOOL BAG
€
102.38
17
59820611A
SEAT LOCK
€
52.35
18
75011551A
NUT M22X1.5
€
1.96
19
82714821A
PLATE
€
5.56
20
77440061A
SCREW, TAPPING 4.5X16
€
0.93
21
83019951A
BRACKET
€
2.99
22
91373611G
OWNER'S MANUAL
€
31.99
22
91373611F
OWNER'S MANUAL
€
31.99
22
91373611D
OWNER'S MANUAL
€
31.99
22
91373611E
OWNER'S MANUAL
€
31.99
22
91373611B
OWNER'S MANUAL
€
31.99
22
91373611C
OWNER'S MANUAL
€
31.99
22
91373611A
OWNER'S MANUAL
€
31.99
23
38640132A
SOCKET, LOW VOLTAGE
€
30.13
24
77214411AA
SCREW BLACK
€
2.99
25
85040381A
QUICK FASTENING
€
2.99
Añadir a la cesta
595P3022AE
PILLION RIDER SEAT
€ 185.54
Añadir a la cesta
595P2991BC
SEAT
€ 225.66
Añadir a la cesta
86610611A
RUBBER PAD
€ 1.96
Añadir a la cesta
86612111A
CUSHION, SEAT
€ 1.96
Añadir a la cesta
77919851BA
SCREW, SPECIAL
€ 4.02
Añadir a la cesta
71615241BA
SPACER
€ 7.07
Añadir a la cesta
88450361A
CIRCLIP
€ 0.93
Añadir a la cesta
76412261A
HOLDER
€ 4.02
Añadir a la cesta
85213761A
WASHER
€ 0.93
Añadir a la cesta
77914982B
SCREW, SPECIAL
€ 2.99
Añadir a la cesta
59810241A
LOCK LATCH
€ 26.03
Añadir a la cesta
38640591A
SOCKET, LOW VOLTAGE (USB)
€ 35.00
Añadir a la cesta
71319331A
SPACER
€ 2.99
Añadir a la cesta
48212182A
COVER , FRAME LH
€ 19.26
Añadir a la cesta
48212172A
COVER , FRAME RH
€ 19.26
Añadir a la cesta
69720342B
TOOL BAG
€ 102.38
Añadir a la cesta
59820611A
SEAT LATCH 696-1100MR/09
€ 52.35
Añadir a la cesta
75011551A
NUT M22X1.5
€ 1.96
Añadir a la cesta
82714821A
PLATE
€ 5.56
Añadir a la cesta
77440061A
SCREW, TAPPING
€ 0.93
Añadir a la cesta
83019951A
BRACKET
€ 2.99
Añadir a la cesta
91373611G
OWNER'S MANUAL
€ 31.99
91373611F
OWNER'S MANUAL
€ 31.99
91373611D
OWNER'S MANUAL
€ 31.99
91373611E
OWNER'S MANUAL
€ 31.99
91373611B
OWNER'S MANUAL
€ 31.99
91373611C
OWNER'S MANUAL
€ 31.99
91373611A
OWNER'S MANUAL
€ 31.99
Añadir a la cesta
38640132A
SOCKET, LOW VOLTAGE
€ 30.13
Añadir a la cesta
77214411AA
SCREW TCEIF M5X9
€ 2.99
Añadir a la cesta
85040381A
QUICK FASTENING
€ 2.99
Add to claim
595P3022AE
PILLION RIDER SEAT
€185.54
Add to claim
595P2991BC
SEAT
€225.66
Add to claim
86610611A
RUBBER PAD
€1.96
Add to claim
86612111A
CUSHION, SEAT
€1.96
Add to claim
77919851BA
SCREW, SPECIAL
€4.02
Add to claim
71615241BA
SPACER
€7.07
Add to claim
88450361A
CIRCLIP
€0.93
Add to claim
76412261A
HOLDER
€4.02
Add to claim
85213761A
WASHER
€0.93
Add to claim
77914982B
SCREW, SPECIAL
€2.99
Add to claim
59810241A
LOCK LATCH
€26.03
Add to claim
38640591A
SOCKET, LOW VOLTAGE (USB)
€35.00
Add to claim
71319331A
SPACER
€2.99
Add to claim
48212182A
COVER , FRAME LH
€19.26
Add to claim
48212172A
COVER , FRAME RH
€19.26
Add to claim
69720342B
TOOL BAG
€102.38
Add to claim
59820611A
SEAT LATCH 696-1100MR/09
€52.35
Add to claim
75011551A
NUT M22X1.5
€1.96
Add to claim
82714821A
PLATE
€5.56
Add to claim
77440061A
SCREW, TAPPING
€0.93
Add to claim
83019951A
BRACKET
€2.99
Add to claim
91373611G
OWNER'S MANUAL
€31.99
91373611F
OWNER'S MANUAL
€31.99
91373611D
OWNER'S MANUAL
€31.99
91373611E
OWNER'S MANUAL
€31.99
91373611B
OWNER'S MANUAL
€31.99
91373611C
OWNER'S MANUAL
€31.99
91373611A
OWNER'S MANUAL
€31.99
Add to claim
38640132A
SOCKET, LOW VOLTAGE
€30.13
Add to claim
77214411AA
SCREW TCEIF M5X9
€2.99
Add to claim
85040381A
QUICK FASTENING
€2.99